
Priming은 마중물 혹은 기폭제(起爆劑)로 해석이 되며, 경제용어로는 부양책이란 의미를 가지고 있다. 이를 pump에 적용하면 pump를 기동하기 위한 준비동작 정도로 이해할 수 있다.
옛날 지하수를 얻기 위해 아래와 같은 장비가 시골 수돗가에 설치되어 물을 밑에서 끌어올리기 전에 미리 물 한 바가지를 이 양수기 펌프안에 넣고 물이 아래로 빠져 나가기 전에 빨리 손잡이를 이용하여 위아래 방향으로 움직이면 물이 비로서 nozzle을 통해 배출되어 물을 끌어 올릴 수 있게 된다.

하지만 물을 넣지 않을 경우 아무리 손잡이를 위아래 방향으로 움직여도 물은 올라오지 않게 된다. 마치 compressor의 unloaded operation처럼... 즉, priming은 최초 기체로 채워진 casing내부에 물을 채워 일부 기체를 치환하고 impeller를 회전시키면서 casing내부에 진공이 생기고 이 때 이 곳을 채우기 위해 기체로 채워진 suction lift piping을 통해 기체가 점점 위로 올라와 이 공간을 채우며 동시에 suction lift piping으로 점점 액체가 올라와 더 채울 기체가 없게 되면 액체가 비로서 casing을 채우면서 lifting운전이 가능해진다.

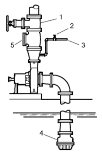
- Discharge isolation valve
- Shutoff valve
- from outside supply.
- Foot valve
- Check valve
manual로 액체를 채우는 pump priming을 위해 아래와 같은 절차로 foot valve와 외부 액체 공급배관을 이용한다.
- 후단 차단밸브를 잠근다.
- casing내 air vent valve를 연다.
- 외부 액체 공급배관의 밸브를 열어 액체가 vent valve로부터 나오는지 확인한다.
- vent valve를 잠근다.
- 공급배관의 밸브를 잠근다.
- pump를 기동한다.
pump priming을 적절하게 수행하지 않을 경우 약 80%이상이 trouble을 야기하며 pump 자체의 손상에 따른 repair비용도 있지만 운전을 하지 못하는 downtime으로 인한 생산손실비용도 무시할 수 없게 된다.
원심펌프의 경우 원할한 운전을 하기 위해서는 먼저 casing내부의 기체를 제거하고 액체로 채워야 한다. 아래와 같이 casing내 액체가 일정부분 채워지면 그만큼 가스가 제거되었기에 운전을 시작할 수 있다.

반면, 왕복동 펌프는 자체의 피스톤 운전에 의해 내부 진공의 형성으로 air pocket이 존재하더라도 suction tank와의 압력차이가 발생하여 액체가 pump쪽으로 이동하게 됨에 따라 positive displacement pump의 경우에는 priming이 필요하지 않다.
펌프는 기체가 아닌 액체를 이송하는 설비임에 따라 원심펌프의 운전을 하기 위해서는 미리 설비내부를 액체로 채워져 있어야 함에 따라 이를 위해 priming을 해야 하지만 self priming pump의 경우 자체적인 구조에 의해 casing내부에 액체가 일정부분 존재하여 mixed phase가 회전하면서 시스템으로부터 제거되고, 액체가 그 자리를 채워 연속적으로 운전이 됨에 따라 별도의 priming operation이 필요없다.

모든 원심펌프가 priming을 필요로 하는 것은 아니며 설치 위치나 배관의 배열에 따라 영향을 받는다. 예를 들어 펌프가 suction drum의 아래에 위치하여 항상 pump나 suction piping이 액체로 채워져 있는 경우라면 priming이 필요없으며 이를 flooded suction condition이라고 한다.

아울러 submergible pump 역시 priming이 필요하지 않고, pump자체의 구조가 self priming인 경우 역시 별도의 priming과정이 필요없다.

pump priming은 외부 시스템이나 layout, piping arrangement에 의해 가능하며 이중 몇 가지 방법들은 아래와 같다.
- priming용 액체를 운전원이 직접 펌프와 suction 배관에 채움.

- main pump discharge에 vacuum pump를 연결하여 기체를 제거함.

- jet pump를 이용하거나 고압수를 nozzle에 주입하여 진공이 형성되면서 기체를 제거함.

- pump후단에 Separator를 설치하여 air를 vent하고 suction piping을 구부려 pump내 액체가 유지되도록 함.

- pump suction이나 discharge에 ejector를 설치하여 형성된 진공에 의해 액체가 pump로 lifting됨.


- suction piping에 Foot Valve를 설치하여 pump가 stop하여도 pump와 suction piping에 액체가 유지되도록 함. 다만 foot valve는 tight sealing이 어려우므로 약간의 leak는 일어날 수 있으니 주의가 필요함.

#priming#마중물#lift#positive_displacement#self_priming#flooded#foot_valve
'기계장치설계' 카테고리의 다른 글
| Cause and Effect of Pump Cavitation (0) | 2024.12.21 |
|---|---|
| Affinity law 이해 (2) | 2024.12.19 |
| Magnetic filter 이해 (0) | 2024.12.18 |
| VRU (Vapor Recovery Unit) 소개 (0) | 2024.12.16 |
| venturi scrubber sizing 자료 (1) | 2024.12.15 |